找回密码
 立即注册

QQ登录

只需一步,快速开始

广告载入中...
查看: 2348|回复: 7

数据复盘|主力资金加仓食品饮料行业 北向资金抢筹赣锋锂业、伊利股份等

[复制链接]
发表于 2022-8-26 19:59 | 显示全部楼层 |阅读模式

马上注册,享用更多功能,让你轻松玩转本论坛。

您需要 登录 才可以下载或查看,没有账号?立即注册

×

8月26日,上证指数深证成指、科创50指数早盘冲高回落,午后震荡下探;创业板指早盘一度探底回升,随后回落下探,午后持续走低。截至收盘,上证指数报3236.22点,跌0.31%,成交额3975.56亿元;深证成指报12059.71点,跌0.37%,成交额5315.91亿元;创业板指报2640.29点,跌1.01%,成交额1719.89亿元;科创50指数报1045.99点,跌0.94%,成交额560亿元。沪深两市合计成交9291.47亿元,成交额较上一交易日减少573.4亿元。

资金流向

1.主力资金

Wind统计显示,沪深两市主力资金今日净流出189.12亿元。其中,创业板主力资金净流出74.63亿元,沪深300成分股主力资金净流出42.11亿元,科创板主力资金净流入12.12亿元。

从行业板块来看,申万所属的28个一级行业,今日仅有食品饮料银行、休闲服务3个行业板块主力资金呈现净流入,净流入金额分别为14.95亿元、1.63亿元、0.14亿元。25个行业板块主力资金呈现净流出,其中,电气设备行业板块主力资金净流出最多,净流出金额为40.05亿元;行业板块主力资金净流出靠前的还有电子、交通运输、计算机、采掘、医药生物,净流出金额分别为27.04亿元、20.52亿元、16.66亿元、15.83亿元、13.04亿元。

个股来看,今日有1857只个股获主力资金净流入,其中,44股获主力资金净流入超1亿元。振华风光获主力资金净流入最多,净流入金额为13.8亿元;主力资金净流入居前的个股还有立讯精密中矿资源大北农比亚迪鸿达兴业,净流入金额分别为6.23亿元、4.11亿元、3.94亿元、3.71亿元、3.28亿元。

此外,2907只个股被主力资金净卖出,其中,65股被主力资金净卖出超1亿元。主力资金净流出最多的个股是宁德时代,净流出金额为6.78亿元;主力资金净流出居前的个股还有盈方微通威股份TCL中环亿纬锂能国元证券,净流出金额分别为5.43亿元、5.42亿元、4.59亿元、4.53亿元、4.04亿元。

2.北向资金

北向资金本周累计成交4903.04亿元,成交净卖出46.96亿元。其中,沪股通合计净卖出3.15亿元,深股通合计净卖出43.81亿元。

从单日看,北向资金今日成交额为1042.98亿元,成交净买入51.51亿元,连续2个交易日净买入。其中,沪股通净买入27.21亿元,深股通净买入24.3亿元。

活跃个股方面,北向资金净买入较多的有赣锋锂业贵州茅台伊利股份中国平安山西汾酒,净买入金额分别为7.42亿元、4.63亿元、2.83亿元、2.01亿元、1.95亿元。北向资金净卖出较多的有东方财富亿纬锂能阳光电源通威股份中国中免,净卖出金额分别为4.56亿元、3.59亿元、2.36亿元、1.46亿元、0.96亿元。

3.龙虎榜机构资金动向

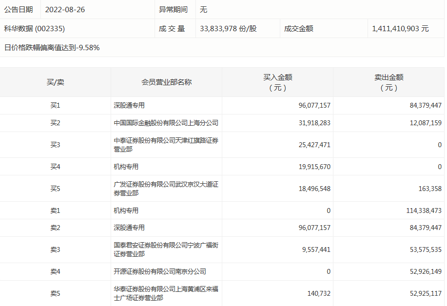
盘后龙虎榜数据显示,今日机构席位资金合计净卖出约9170.48万元。其中,净买入的个股9只,净卖出的个股9只。机构净买入最多的股票是金辰股份,净买入金额约2152.21万元;机构净买入居前的还有皇氏集团京运通联盛化学等股。机构净卖出最多的股票是科华数据,净卖出金额约9442.28万元。机构净卖出靠前的还有智光电气普利特等股。

科华数据今天跌停。盘后数据显示,2个机构出现在龙虎榜单上,合计净卖出9442.28万元;中国国际金融股份有限公司上海分公司买入3191.83万元,同时卖出1208.72万元;国泰君安证券股份有限公司宁波广福街证券营业部买入955.74万元,同时卖出5357.55万元。

涨跌停个股

截至收盘,沪深两市合计1696只个股上涨,2948只个股下跌,平盘个股144只,停牌的个股5只。不含当日上市新股,共有48只个股涨停,35只个股跌停。连续涨停天数看,弘业期货已连收16个涨停板,连续涨停板数量最多。

涨停股中,从收盘涨停板封单量来看,博纳影业最受追捧,收盘涨停板封单有5088.68万股;其次是黑芝麻西部创业,涨停板封单分别有2528.25万股、2489.31万股。以封单金额计算,博纳影业、弘业期货源飞宠物等涨停板封单资金较多,分别有6.53亿元、2.65亿元、2.49亿元。

行业板块、概念方面看,行业板块跌多涨少。其中,食品饮料汽车造纸印刷、教育、农林牧渔等行业板块涨幅靠前;粮食概念、乳业、宠物经济、草甘膦、工业气体等概念走势活跃。煤炭燃气国防军工石油石化、电子、电气设备证券交通运输等行业板块跌幅居前;钻石培育、民爆概念电子身份证新型城镇化减速器工业母机等概念走弱。涨停个股主要集中在传媒、电气设备、机械设备、汽车、食品饮料等行业。

发表于 2022-8-26 21:11 | 显示全部楼层
好好学习天天向上
回复

使用道具 举报

发表于 2022-8-26 22:01 | 显示全部楼层
谢谢楼主的分享!
回复

使用道具 举报

发表于 2022-8-26 22:53 | 显示全部楼层
谢谢楼主分享!
回复

使用道具 举报

发表于 2022-8-27 07:47 | 显示全部楼层
好好学习天天向上
回复

使用道具 举报

发表于 2022-8-27 09:31 | 显示全部楼层

好好学习天天向上
回复

使用道具 举报

发表于 2022-8-27 09:53 | 显示全部楼层
好好学习天天向上
回复

使用道具 举报

发表于 2022-8-27 13:10 | 显示全部楼层
提供信息资讯供大家学习,点赞。
回复

使用道具 举报

您需要登录后才可以回帖 登录 | 立即注册

本版积分规则

快速回复 返回顶部 返回列表